Ce produit vous intéresse ?
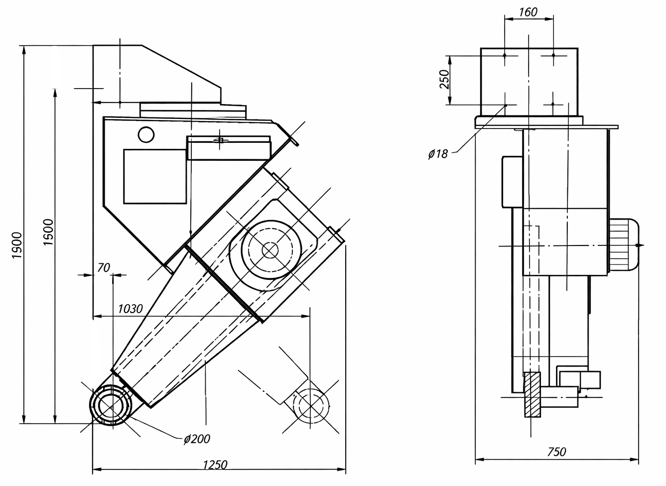
La H-1450 est une tête de meulage haute performance conçue pour le traitement des fonds de cuves de grandes dimensions et formes complexes.
Elle permet le meulage et le polissage des surfaces de fonds, ainsi que le traitement des cônes en intérieur et en extérieur.
Particulièrement adaptée aux fonds de taille moyenne à grande et aux pièces lourdes, elle garantit un enlèvement de matière élevé et une qualité de finition constante.
Grâce à sa tête flottante et à son système de pression pneumatique, elle compense automatiquement les défauts de forme et assure un suivi précis des courbures, même sur des géométries complexes.






